Extra subkast in meterkast

Status
Niet open voor verdere reacties.
Ik heb de volgende vraag:

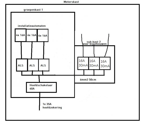
In mijn meterkast zit een groepenkast die volledig vol zit (3x aardlek met 12 groepen). Deze 12 groepen zijn moeilijk opnieuw te verdelen wegens te korte kabels.

Wegens een nieuw buitenverblijf heb ik uiteindelijk 3 extra groepen nodig. Dit wil ik op de volgende manier inrichten:

- een extra aardlekschakelaar in de huidige groepenkast
- daarna vanaf deze aardlekschakelaar met een 6mm2 kabel (ongeveer 40 cm) naar de tweede groepenkast (rechts naast de huidige groepenkast.
- in de tweede groepenkast afzekeren met 3 x 16A installatieautomaten.

Is dit een goede oplossing? (zie afbeelding ter verduidelijking. Of moet de korte kabel van groepenkast 1 naar 2 ook nog extra afzekeren?

128917_meterskast_1.jpg
 
Als je de kast er strak tegenaan zet en de kabel intern kan doorvoeren is het gewoon 1 kast.

afhankelijk wat er op de zekeringen komt is het waarschijnlijk verstandiger om er aardlekautomaten van te maken om aan de norm te voldoen.
 
Lijkt mij een prima oplossing. Makkelijker en beter is om de kasten strak tegen elkaar te plaatsen maar daar moet je dan wel ruimte voor hebben. Overigens zou je ook de ALS in de nieuwe kast mogen plaatsen.

40cm is geen probleem mits brandveilig uitgevoerd. Zelfs de gehele groepenkast zou max. 3 meter van het meterbord af geplaatst mogen worden zonder dat selectief voorbeveiligen nodig is.
 
Als je, zoals Headhunter schrijft, de kasten strak tegen elkaar plaatst, kun je bij beide kasten gewoon het zij paneeltje eruit halen, deze zitten er meestal in geschoven.
Dan kun je gewoon met 6mm2 montagedraad van kast naar kast gaan.
Let wel op, als de kasten van verschillende grootte zijn mag je in de grote kast aan de zijkant, waar de kleinere tegenaan komt, geen gapend gat hebben zitten.

Jou tekeningetje heb ik even aangepast, mocht je in je tweede kast aardlekautomaten gaan gebruiken.

127154_huub12345_1.jpg
 
Bedankt alvast voor de reacties en adviezen.

als het niet mogelijk is om de kasten strak tegen elkaar te plaatsen, wat zouden jullie dan doen?
 
Zoals eerder geschreven dan inderdaad een stukje uit elkaar plaatsen, dat is toegestaan voor max. 3 meter dus 40 cm is geen probleem. Wel veilig uitvoeren, geen Vd draad los in het zicht en bij soepele draad ook adereindhulzen toepassen.
 
Wat voorbeelden van 6mm2 soepel montagedraad en adereindhulzen.

127154_P1060572_1.jpg


127154_P1060573_1.jpg


127154_P1060574_1.jpg


127154_P1060575_1.jpg


Groepenkast wordt overigens niet meer als zodanig gebruikt, deze dient ter illustratie, om een van de mogelijkheden om te bedraden, aan te geven.
 
Bedankt voor de reacties, hier kan ik wel wat mee!

Ik heb nog 1 aparte vraag. Momenteel heb ik 1 ymvk-as 4 aderige grondkabel liggen in de tuin, maar hier mag en kun je geen 3 groepen van maken.

Nu wil ik 2 losse 2-aderige ymvk-as kabels door een 50mm mantelbuis trekken die hier al ligt. Heeft iemand hier ervaring mee en zal dit makkelijk gaan of gaat dit heel stug?

Wat is de beste manier om de kabels door de buis te trekken?
 
Meerdere groepen door dezelfde kabel mag inderdaad niet en een onderverdeler is ook niet handig omdat je dan slechts 6A eindgroepen mag maken i.v.m. selectiviteit.

Kabels trekken door een mantelpijp gaat prima, ligt er natuurlijk wel aan of je veel en/of scherpe bochten hebt.
 
Status
Niet open voor verdere reacties.

Login

Je wachtwoord vergeten?
Heb je problemen met wachtwoorden of reset, stuur een mailtje naar info a p e n staartje klusidee nl Nog niet geregistreerd? Registreer nu
or Log in via
Back
Bovenaan Onderaan